联系我们
24小时服务热线
联系人:倪先生0519-83180326/83180328
电 话:0519-83180326/0519-83180328
传 真:0519-83182647
电 邮:snn@saibom.com
邮 编:213132
地 址:江苏省常州市高新区龙城大道2357号
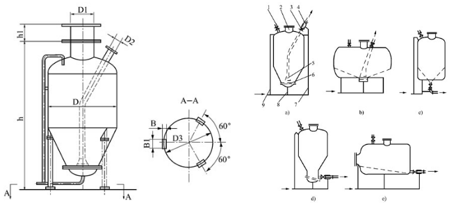
沸腾式气力输送装置可根据发送罐底部流化板的结构、材质、安装位置来设计输料管的出料方式。按发送罐上的出料位置,大致分上引式、和侧引式。由于发送罐内物料的流化状态不同会造成输料管的不稳定性,输送能力、混合比等参数也会发生相应变化。根据实验表明,在输送距离不长的情况下,采用上引式较好。输送管铅直上升高度应保持在5m以上,使物料从加速流动进入稳定流动。
侧引沸腾式发送罐,其流化板为倾斜布置,输料管在发送罐的侧面,物料沿着流化板的倾斜方向输送,这种发送罐结构形式分立式和卧式两种,卧式常用于散装物料罐车。
发送罐的主要技术参数、系列尺寸、结构示意图见表
|
序号
|
名称
|
规格及参数
|
序号
|
名称
|
规格及参数
|
|
1
|
发送罐容积/m3
|
0.1-10.0
|
5
|
工作压力/MPa
|
0.1-0.4
|
|
2
|
输送能力/t.h-1
|
1-50
|
6
|
气源压力/MPa
|
≤0.6
|
|
3
|
输送距离/m
|
<1000
|
7
|
耗气量/m3
|
1-35
|
|
4
|
提升距离/m
|
<50
|
8
|
进料阀组合/台
|
2-3
|
|
|
立式罐体锥角
|
35-70°
|
|
卸料点个数
|
现场要求
|
上引式发送罐系列尺寸
|
型号
|
容积/m3
|
D
|
D1
|
D2
|
D3
|
h
|
h1
|
B*B1
|
|
CHP-1
|
0.1
|
500
|
150
|
40
|
40
|
1320
|
100
|
100*160
|
|
CHP-2
|
0.2
|
600
|
150
|
40
|
40
|
1320
|
100
|
100*160
|
|
CHP-4
|
0.4
|
800
|
200
|
60
|
50
|
1880
|
100
|
120*180
|
|
CHP-6
|
0.6
|
1000
|
200
|
80
|
65
|
2030
|
120
|
120*180
|
|
CHP-10
|
1.0
|
1000
|
250
|
80
|
65
|
2230
|
120
|
120*180
|
|
CHP-20
|
2.0
|
1400
|
250
|
125
|
80
|
2690
|
120
|
160*220
|
|
CHP-40
|
4.0
|
1800
|
300
|
150
|
100
|
3240
|
150
|
160*220
|
